Sprache: DE
Beratung
Ihre Offerte 0
    Details
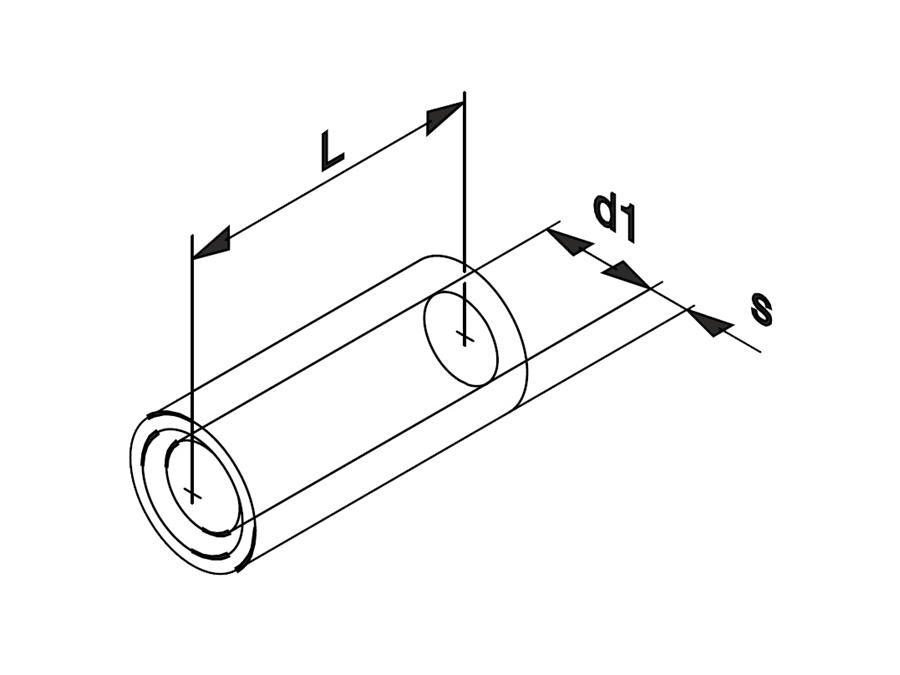
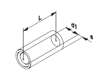
      • Ja
      • >95-120 mm2 AWG 4/0-250 MCM
      • 517
      • verzinnt
      • ohne
      • 3.0/16.5/0/0/0/22.0 mm
      • Parallelverbinder
    Technische Unterlagen

    Varianten

    zurück