Sprache: DE
Beratung
Ihre Offerte 0
    Details
      • Ja
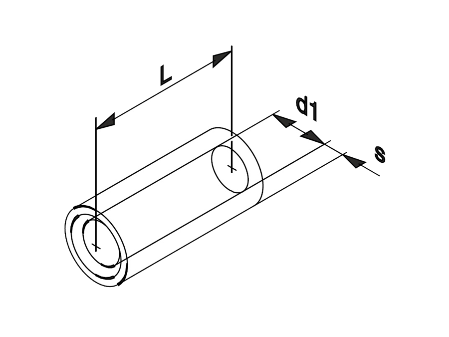
      • >120-150 mm2 AWG 250-300 MCM
      • 518
      • verzinnt
      • ohne
      • 3.2/19/0/0/0/24.0 mm
      • Parallelverbinder
    Technische Unterlagen

    Varianten

    zurück